Sección SUA 2 Seguridad frente al riesgo de impacto o de atrapamiento

1 Impacto

1.1 Impacto con elementos fijos

  1. La altura libre de paso en zonas de circulación será, como mínimo, 2,10 m en zonas de uso restringido y 2,20 m en el resto de las zonas. En los umbrales de las puertas la altura libre será 2 m, como mínimo.
  2. Los elementos fijos que sobresalgan de las fachadas y que estén situados sobre zonas de circulación estarán a una altura de 2,20 m, como mínimo.
  3. En zonas de circulación, las paredes carecerán de elementos salientes que no arranquen del suelo, que vuelen más de 15 cm en la zona de altura comprendida entre 15 cm y 2,20 m medida a partir del suelo y que presenten riesgo de impacto.
  4. Se limitará el riesgo de impacto con elementos volados cuya altura sea menor que 2 m, tales como mesetas o tramos de escalera, de rampas, etc., disponiendo elementos fijos que restrinjan el acceso hasta ellos y permitirán su detección por los bastones de personas con discapacidad visual.

1.2 Impacto con elementos practicables

  1. Excepto en zonas de uso restringido, las puertas de recintos que no sean de ocupación nula (definida en el Anejo SI A del DB SI) situadas en el lateral de los pasillos cuya anchura sea menor que 2,50 m se dispondrán de forma que el barrido de la hoja no invada el pasillo (véase figura 1.1). En pasillos cuya anchura exceda de 2,50 m, el barrido de las hojas de las puertas no debe invadir la anchura determinada, en función de las condiciones de evacuación, conforme al apartado 4 de la Sección SI 3 del DB SI.
    Disposición de puertas laterales a vías de circulación
    Figura 1.1 Disposición de puertas laterales a vías de circulación
  2. Las puertas de vaivén situadas entre zonas de circulación tendrán partes transparentes o translúcidas que permitan percibir la aproximación de las personas y que cubran la altura comprendida entre 0,7 m y 1,5 m, como mínimo.
  3. Las puertas industriales, comerciales, de garaje y portones cumplirán las condiciones de seguridad de utilización que se establecen en su reglamentación específica y tendrán marcado CE de conformidad con los correspondientes Reglamentos y Directivas Europeas.
  4. Las puertas peatonales automáticas cumplirán las condiciones de seguridad de utilización que se establecen en su reglamentación específica y tendrán marcado CE de conformidad con los correspondientes Reglamentos y Directivas Europeas.

1.3 Impacto con elementos frágiles

  1. Los vidrios existentes en las áreas con riesgo de impacto que se indican en el punto 2 siguiente de las superficies acristaladas que no dispongan de una barrera de protección conforme al apartado 3.2 de SUA 1, tendrán una clasificación de prestaciones X(Y)Z determinada según la norma UNE-EN 12600:2003 cuyos parámetros cumplan lo que se establece en la tabla 1.1. Se excluyen de dicha condición los vidrios cuya mayor dimensión no exceda de 30 cm.
    Tabla 1.1 Valor de los parámetros X(Y)Z en función de la diferencia de cota
    Diferencia de cotas a ambos lados de la superficie acristalada Valor del parámetro
    X Y Z
    Mayor que 12 m cualquiera B o C 1
    Comprendida entre 0,55 m y 12 m cualquiera B o C 1 ó 2
    Menor que 0,55 m 1, 2 ó 3 B o C cualquiera
  2. Se identifican las siguientes áreas con riesgo de impacto (véase figura 1.2):
    1. en puertas, el área comprendida entre el nivel del suelo, una altura de 1,50 m y una anchura igual a la de la puerta más 0,30 m a cada lado de esta;
    2. en paños fijos, el área comprendida entre el nivel del suelo y una altura de 0,90 m.
    Identificación de áreas con riesgo de impacto
    Figura 1.2 Identificación de áreas con riesgo de impacto
  3. Las partes vidriadas de puertas y de cerramientos de duchas y bañeras estarán constituidas por elementos laminados o templados que resistan sin rotura un impacto de nivel 3, conforme al procedimiento descrito en la norma UNE EN 12600:2003.

1.4 Impacto con elementos insuficientemente perceptibles

  1. Las grandes superficies acristaladas que se puedan confundir con puertas o aberturas (lo que excluye el interior de viviendas) estarán provistas, en toda su longitud, de señalización visualmente contrastada situada a una altura inferior comprendida entre 0,85 y 1,10 m y a una altura superior comprendida entre 1,50 y 1,70 m. Dicha señalización no es necesaria cuando existan montantes separados una distancia de 0,60 m, como máximo, o si la superficie acristalada cuenta al menos con un travesaño situado a la altura inferior antes mencionada.
  2. Las puertas de vidrio que no dispongan de elementos que permitan identificarlas, tales como cercos o tiradores, dispondrán de señalización conforme al apartado 1 anterior.

2 Atrapamiento

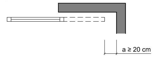
  1. Con el fin de limitar el riesgo de atrapamiento producido por una puerta corredera de accionamiento manual, incluidos sus mecanismos de apertura y cierre, la distancia aa hasta el objeto fijo más próximo será 20 cm, como mínimo (véase figura 2.1).
    Holgura para evitar atrapamientos
    Figura 2.1 Holgura para evitar atrapamientos
  2. Los elementos de apertura y cierre automáticos dispondrán de dispositivos de protección adecuados al tipo de accionamiento y cumplirán con las especificaciones técnicas propias.

Documento Básico SUA - Seguridad de utilización y accesibilidad

Versión 2022