Anejo E. Interacción suelo-estructura

E.1 Concepto de rigidez relativa terreno-estructura

  1. Para ilustrar el fenómeno de la interacción, la Figura E.1 a) muestra el caso sencillo de una zapata, infinitamente flexible, apoyada directamente sobre la superficie de un terreno horizontal, sobre la que se aplica una presión uniforme. Por efecto de ésta, el terreno y la zapata sufrirán un asiento, que resultará mayor en el centro que en los extremos y no se limitará al área cargada, sino que se extenderá a ambos lados de ella hasta una cierta distancia. Por ser infinitamente flexible, la zapata no será capaz de soportar momentos flectores y, en consecuencia, la distribución de presiones con que el terreno reaccionará será idéntica a la distribución uniforme de presiones colocada sobre la zapata.
  2. Si por el contrario, la zapata fuera infinitamente rígida (véase Figura E.1 b), el asiento de la zapata sería uniforme. En casos intermedios de rigidez, el valor medio del asiento podrá ser similar al anterior, pero su distribución estará, evidentemente, condicionada por la rigidez del cimiento. Así, bajo los extremos de la zapata (zonas AB y CD), el asiento será mayor que el correspondiente a la zapata flexible; mientras que en el centro (zona BC), el asiento será menor. En consecuencia, las presiones de respuesta del terreno en los extremos de la zapata rígida serán superiores a las correspondientes a la zapata flexible y, por el contrario, en su centro serán menores. Resulta así una distribución no uniforme de presiones, caracterizada por unos valores máximos en los extremos y un valor mínimo en el centro.
Distribución de presiones en cimentaciones flexibles y rígidas
Figura E.1. Distribución de presiones en cimentaciones flexibles y rígidas
  1. Si el terreno se considerara elástico y de resistencia indefinida, la presión bajo los bordes A y D de la zapata rígida sería infinita. Dado que la resistencia del terreno es limitada, dichas presiones podrán ser elevadas, pero tendrán un valor finito. En el caso de arcillas (véase Figura E.2.a), la distribución de presiones será en general muy semejante a la teórica del ejemplo anterior. Sin embargo, la resistencia limitada del terreno producirá en los extremos unas zonas de plastificación que atenuarán las presiones de borde y las redistribuirá hacia el centro de la zapata. En el caso de arenas, dado que la falta de confinamiento en el borde de la zapata, supuesta ésta en superficie, no permitiría el desarrollo de presiones elevadas, la distribución tomará en general la forma parabólica que se indica en la Figura E.2.b.
Distribución de presiones en zapatas rígidas sobre arcillas y arenas
Figura E.2. Distribución de presiones en zapatas rígidas sobre arcillas y arenas

E.2 Estimación de las condiciones de rigidez relativa terreno-estructura

  1. La rigidez relativa de la estructura con respecto al terreno podrá estimarse mediante la evaluación del factor Kr definido en la expresión (E.1).

    Kr=EEIBEsB3K_r = \frac{E_E \cdot I_B}{E_s \cdot B^3} (E.1)

    siendo
    • EE el módulo de deformación global representativo de los materiales empleados en la estructura;
    • IB el momento de inercia de la estructura, por metro de ancho;
    • Es el módulo de deformación del terreno;
    • B el ancho de la cimentación.
  2. El numerador de la expresión (E.1) representa la rigidez de la estructura por metro de ancho del edificio, que puede estimarse sumando las rigideces de la cimentación y de los elementos estructurales que gravitan sobre ella (vigas, forjados, muros).
  3. A los efectos de este DB, se considerará que la estructura es rígida en relación con el terreno cuando Kr > 0,5. Si Kr < 0,5, se considerará flexible.

E.3 Criterios de rigidez para cimentaciones directas

  1. Se podrá considerar que una zapata aislada es rígida (concepto de rigidez relativa) cuando a efectos de cálculo, la distribución de presiones a que dé lugar sobre el terreno pueda considerarse lineal. A efectos prácticos, se considerará aceptable la hipótesis de rigidez relativa cuando (Figura E.3):

    vπ44EcIcBksB4v \le \frac{\pi}{4} \sqrt[4]{\frac{4 E_c I_c}{B k_{sB}}} (E.2)

    siendo
    • v el vuelo de la zapata en una dirección cualquiera;
    • Ec el módulo de deformación del material de la zapata (usualmente hormigón armado) representativo del tipo de carga y su duración;
    • Ic el momento de inercia de la sección de la zapata perpendicular a la dirección del vuelo considerado respecto a la horizontal que pasa por su centro de gravedad;
    • B el ancho de la zapata en dirección perpendicular al vuelo considerado.
    • ksB el módulo de balasto de cálculo, representativo de las dimensiones del cimiento (véase apartado E.5).
Criterio de rigidez relativa para zapatas aisladas
Figura E.3. Criterio de rigidez relativa para zapatas aisladas
  1. La condición expresada en el apartado anterior será también de aplicación al caso de zapatas corridas en la dirección transversal a misma.
  2. En el caso de no cumplirse, la zapata se considerará flexible, y la distribución de presiones sobre el terreno y sus esfuerzos se obtendrán a partir de modelos de cálculo que consideren la interacción suelo-estructura.
  3. La condición del párrafo 1 de este apartado suele verificarse con los cantos y vuelos usuales en zapatas aisladas sobre suelos. En cualquier caso se debe comprobar el cumplimiento de esta condición si se desea efectuar el cálculo con la hipótesis de distribución lineal de presiones sobre el terreno.
  4. Salvo en el caso de zapatas aisladas sobre suelos muy rígidos o sobre roca, el cumplimiento de la rigidez estructural definida en el párrafo 4 del apartado 4.1.1 suele ser más restrictivo que la condición de rigidez relativa definida en el párrafo 1 de este apartado.
  5. En el caso general de que sobre una zapata aislada actúen momentos además de cargas verticales, se recomienda que la resultante de las acciones pase por el núcleo central de inercia.
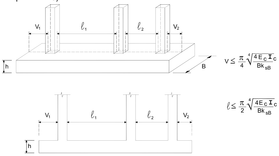
  6. Se considerará que una zapata combinada o corrida es rígida cuando a efectos de cálculo la distribución de presiones a que da lugar sobre el terreno pueda considerarse lineal. A efectos prácticos se considerará aceptable la hipótesis de rigidez relativa cuando (véase Figura E.4):

    lπ24EcIcBksB4l \le \frac{\pi}{2} \sqrt[4]{\frac{4 E_c I_c}{B k_{sB}}} (E.3)

    vπ44EcIcBksB4v \le \frac{\pi}{4} \sqrt[4]{\frac{4 E_c I_c}{B k_{sB}}} (E.4)

    siendo
    • l la luz del vano que separa, bien los dos pilares de una zapata combinada, bien dos pilares cualesquiera de una zapata corrida;
    • v la luz de cualquier voladizo en la dirección en la dirección longitudinal;
    • B el ancho de la zapata (dirección transversal);
    • Ec el módulo de deformación del material de la zapata (usualmente hormigón armado) representativo del tipo de carga y su duración.
    • Ic el momento de inercia de la zapata en un plano vertical, transversal (perpendicular al plano de alineación de pilares), respecto a la horizontal que pasa por su centro de gravedad.
    • ksB el módulo de balasto de cálculo, representativo de las dimensiones del cimiento (véase apartado E.5).
Criterio de rigidez relativa para zapatas combinadas y corridas
Figura E.4. Criterio de rigidez relativa para zapatas combinadas y corridas
  1. En el caso de no cumplirse la condición anterior la zapata se considerará flexible.
  2. A efectos de cálculo y para los cantos habituales, las zapatas corridas que se empleen para el apoyo de 3 o más pilares, los emparrillados y las losas, se diseñarán mediante el empleo de modelos de cálculo que tengan en cuenta la interaccción suelo-estructura. No obstante se considerará que estos elementos son rígidos y la distribución de presiones en el suelo es lineal cuando se cumplan simultáneamente las condiciones de rigidez definidas en el párrafo 3 del apartado E.2 y en el párrafo 7 de este apartado.

E.4 Otros factores a considerar en la interacción suelo-estructura

E.4.1 Influencia del tipo de terreno

  1. Dado que el tipo de terreno puede condicionar la distribución de presiones bajo la cimentación, este efecto podrá tenerse en cuenta, a juicio del proyectista, en casos especiales de cimentaciones de gran rigidez sobre terrenos arcillosos sobreconsolidados.
  2. Los cimientos sobre suelos arcillosos saturados que bajo el efecto de las solicitaciones de la estructura puedan quedar sometidos a un proceso de asiento diferido en el tiempo, deben ser objeto de un estudio especial. En dicho estudio se debe considerar el asentamiento tras la construcción del edificio así como el asiento diferido originado a lo largo del proceso de consolidación.

E.4.2 Influencia del tamaño de la cimentación

  1. El incremento de presión transmitido al terreno por una cimentación directa disminuye progresivamente en profundidad con la distancia a ésta. A efectos de cálculo y salvo en el caso de suelos blandos, se podrá suponer que el límite de interés se circunscribe a puntos del terreno en los que el incremento de la presión vertical resulte mayor o igual al 10% de la presión media de contacto bajo la cimentación.
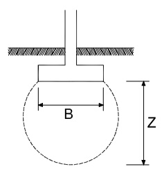
  2. El lugar geométrico del espacio de suelo definido en el apartado anterior se denomina habitualmente bulbo de tensiones, cuya forma cualitativa se muestra en la Figura E.5. El incremento de presión recibido por el suelo más allá de este bulbo será, en la mayoría de los casos, lo suficientemente pequeño como para que sus efectos sean comparativamente despreciables, aunque en general debe comprobarse.
Concepto de bulbo de tensiones
Figura E.5. Concepto de bulbo de tensiones
  1. Las observaciones anteriores indican que, a igualdad del resto de condiciones, el asiento que experimentará una cimentación directa dependerá de las dimensiones del área cargada.
  2. Este efecto se muestra de forma cualitativa en la Figura E.6, en donde se representan dos pilares que, recibiendo cargas distintas, transmiten presiones medias idénticas al terreno. Habida cuenta que la zapata de mayor tamaño tendrá una profundidad de influencia mayor (mayor bulbo de tensiones y mayor volumen de terreno sobretensionado), su asiento será también mayor.
Influencia de las dimensiones del cimiento
Figura E.6. Influencia de las dimensiones del cimiento
  1. Como efecto adicional con respecto al fenómeno de la interacción, si ambos pilares pertenecen al mismo edificio y se encuentran conectados por la estructura, la tendencia al mayor asiento del pilar 2 originará una redistribución de esfuerzos en la estructura, que tenderá a su vez a descargar dicho pilar y transmitir parte de su carga a los pilares adyacentes.
  2. Se debe por tanto prestar especial atención al diseño de las cimentaciones de estructuras con gran heterogeneidad de cargas ya que, incluso en la hipótesis de homogeneidad del terreno, el dimensionado realizado exclusivamente en función de una determinada presión admisible (véase el apartado 4.3) podría dar lugar a asientos diferenciales inadmisibles.
  3. Asimismo, será de gran interés disponer de suficiente información geotécnica referente al posible crecimiento del módulo de deformación del terreno con la profundidad, factor éste que puede contribuir a atenuar los asientos diferenciales asociados a la variación de las dimensiones de las zapatas.
  4. Si el diseño de las cimentaciones da lugar a zapatas relativamente próximas, los bulbos de tensiones de las zapatas individuales solaparán en profundidad, por lo que, a efectos de asiento, habrá que comprobar la cimentación como si tuviera el ancho total del conjunto de las zapatas (véase la Figura E.7).
Influencia de la proximidad de los cimientos
Figura E.7. Influencia de la proximidad de los cimientos

E.4.3 Otras consideraciones

  1. En el análisis estructural, puede considerarse la utilización de modelos específicos para englobar detalles de los cimientos, habitualmente no tenidos en cuenta, como puede ser el caso de vigas centradoras o de elementos de arriostramiento entre cimientos.
  2. La resultante en la base del cimiento debe incluir la solicitación obtenida en el análisis estructural, incluyendo el peso propio del cimiento, y en su caso, pozo, y el de los materiales sueltos que gravitan sobre él.
  3. En el caso de edificios cimentados con zapatas aisladas y corridas, edificios con forjados o cámaras sanitarias y soleras, el valor característico qok al nivel de la base de apoyo de la cimentación corresponde a la presión vertical del terreno en derredor del cimiento, es decir con su cota final. En este caso, puede tenerse en cuenta el peso del encache, la solera y demás cargas permanentes que pueda garantizarse que existirán durante el periodo de servicio del edificio.
  4. En el caso de edificios cimentados en losa, la presión vertical, qok, corresponde al peso de los elementos permanentes en el exterior de la misma (véase D, en figura F.1).
  5. Si sobre las zapatas o emparrillados se dispone una solera pasante, eficazmente engarzada y con suficiente capacidad resistente, ésta puede acabar comportándose como una losa.

E.5 Modelos de interacción. Módulo de balasto

  1. El módulo de balasto ks se define como el cociente entre la presión vertical, q, aplicada sobre un determinado punto de un cimiento directo y el asiento, s, experimentado por dicho punto:

    ks=qsk_s = \frac{q}{s} (E.5)

  2. El módulo de balasto así definido, tiene unidades de densidad, lo que indica que la hipótesis efectuada equivale a suponer que el terreno es un líquido de densidad ks, sobre el que "flota" la cimentación.
  3. La estimación del módulo de balasto podrá realizarse:
    1. A partir de ensayos de carga con placa (véase tabla D.7). De acuerdo con los efectos descritos en el apartado E.4.2 y dado que las placas de ensayo son necesariamente de pequeño tamaño, se debe prestar especial atención a la conversión del módulo obtenido en el ensayo, ksp, al módulo de cálculo representativo de la anchura, B, real del cimiento, ksB. A este respecto se recomienda emplear placas de diámetro equivalente igual o superior a 60 cm.
    2. A partir de la determinación de parámetros de deformabilidad representativos del terreno bajo la zona de influencia de la cimentación, ya sea mediante ensayos in situ o de laboratorio, y el posterior cálculo geotécnico de asientos.
  4. La conversión del módulo para placa de 30 cm, ks30, al coeficiente de referencia, ksB, se puede obtener mediante las siguientes expresiones: (véase tabla D.29)
  5. Para zapata cuadrada de ancho B:
    1. Para terrenos cohesivos:

      ksB=ksp300,3Bk_{sB} = k_{sp30} \frac{0,3}{B} (E.6)

    2. Para terrenos granulares:

      ksB=ksp30(B+0,32B)2k_{sB} = k_{sp30} \left( \frac{B + 0,3}{2B} \right)^2 (E.7)

  6. Para zapata rectangular de ancho B, en cualquier tipo de terreno:

    ksBL=ksB(1+B2L)k_{sBL} = k_{sB} \left( 1 + \frac{B}{2L} \right) (E.8)

  7. La conversión del módulo para placa de 60 cm (ks60) al coeficiente de referencia ksB se puede obtener mediante las siguientes expresiones:
    1. Para terrenos cohesivos:

      ksB=ksp600,6Bk_{sB} = k_{sp60} \frac{0,6}{B} (E.9)

    2. Para terrenos granulares:

      ksB=ksp60(0,6+0,320,6)2(B+0,32B)2k_{sB} = \frac{k_{sp60}}{\left( \frac{0,6 + 0,3}{2 \cdot 0,6} \right)^2} \left( \frac{B + 0,3}{2B} \right)^2 (E.10)

  8. Para la cimentación de losas y emparrillados la fiabilidad de los módulos de balasto obtenidos a partir de ensayos de carga puede resultar insuficiente, dados los efectos de escala implicados (véase el apartado E.4.2). En estas circunstancias, se recomienda recurrir a la comprobación de dichos módulos siguiendo los criterios del párrafo 3.b) anterior o, alternativamente, recurrir al empleo de métodos y modelos del terreno más avanzados.
  9. La observación anterior puede cobrar especial importancia en el caso de existir terrenos heterogéneos en la vertical (terrenos estratificados), cuando bajo un estrato rígido surge otro más deformable. En estas circunstancias (véase la Figura E.8) el reducido bulbo de tensiones de la placa de ensayo puede quedar limitado a las zonas más competentes del terreno, y no reflejar la deformabilidad del conjunto terreno-cimentación.
Limitaciones del ensayo de carga con placa en terrenos estratificados
Figura E.8. Limitaciones del ensayo de carga con placa en terrenos estratificados

Documento Básico SE - Seguridad Estructural

Versión c-2019