5 Análisis estructural

5.1 Principios generales

  1. Para el análisis relativo a situaciones de dimensionado transitorias y permanentes, se considerarán los siguiente valores para los módulo de elasticidad longitudinal Ed, o transversal Gd.
    1. En comprobaciones de estado límite de servicio y estado límite último en régimen lineal (sin analizar la estabiliad global o local):

      Ed=EmedioE_d = E_{medio} (5.1)

      Gd=GmedioG_d = G_{medio} (5.2)

      siendo:

      Gmedio ;Emedio valores medios según los datos del material.

    2. En comprobaciones de estado límite ultimo relativas a estabilidad o en general en comprobaciones realizadas en segundo orden

      Ed=EkE_d = E_k (5.3)

      Gd=GkG_d = G_k (5.4)

      siendo:

      Gk ;Ek valor correspondiente al 5% percentil de la propiedad de rigidez.

  2. Para el análisis relativo a situaciones de dimensionado extraordinarias, se considerará el siguiente valor para los módulo de elasticidad longitudinal Ed, o transversal Gd:

    Ed=EmedioE_d = E_{medio} (5.5)

    Gd=GmedioG_d = G_{medio} (5.6)

  3. En el análisis de estructuras compuestas por barras (es decir, elementos en los que predomina una dirección sobre las otras con una relación mínima entre largo y canto de 6), formando estructuras trianguladas o estructuras de nudos rígidos o semirrígidos, y para el cálculo de solicitaciones globales (cortante, momento y axil) de la barra, se considerará válida la hipótesis de que el material es isótropo, elástico y lineal, considerando las deformaciones instantaneas o a largo plazo a través de los módulos descritos anteriormente.

5.2 Características de las barras

  1. Secciones eficaces:
    1. se consideran secciones eficaces las deducidas de las dimensiones nominales menos las reducciones previstas;
    2. a estos efectos, no se consideran reducciones del área de la sección transversal las originadas por:
      1. clavos con diámetro igual o inferior a 6 mm, introducidos sin pretaladro;
      2. agujeros simétricamente dispuestos para pernos, pasadores, tirafondos y clavos en piezas comprimidas axilmente;
      3. agujeros en la zona comprimida de las piezas a flexión, siempre que los agujeros estén rellenos con un material más rígido que la madera.
    3. para la determinación de la sección eficaz de piezas con varias filas de elementos de fijación, a los agujeros contenidos en la sección se sumarán aquéllos que estén a una distancia, respecto de dicha sección, igual o menor que la mitad de la separación mínima (especificada para las uniones) entre elementos de fijación, medida en la dirección paralela a la fibra.

5.3 Sistemas de barras

5.3.1 Principios generales

  1. En las estructuras habituales de edificación formadas por barras (elementos en donde una dimensión predomina sobre las otras dos), sean soportes, vigas o estructuras trianguladas se consideran, para los tipos descritos en el código, los siguientes modelos:
    1. comportamiento de las barras
      1. análisis en primer orden, considerando que la madera es un material homogéneo e isótropo, tomando como parámetro básico del material el módulo de deformación, E, longitudinal (según la dirección de la fibra). La verificación de la estabilidad se realiza a través del método de la longitud de pandeo equivalente.
      2. análisis en primer orden similar al anterior salvo en la verificación de la estabilidad, que se realiza mediante un análisis global en segundo orden.
    2. uniones en cerchas
      1. para cerchas usuales, con luces no mayores de 20m, no será necesario considerar la deformación local en la unión siempre que la relación entre la luz y el canto máximo de la cercha no sea mayor que 10.
      2. para el resto de casos se considerará una deformación local de la unión de tipo lineal de acuerdo con los datos de Kser descritos en el apartado 7.1. Según se describe en ese apartado, el valor de Kser de las tablas se usará en las comprobaciones de los estados límite de servicio, mientras que para las comprobaciones de los estados límite últimos se considerará un valor de 2/3 del anterior. Para modelizar este efecto se pueden añadir barras ficticias en las uniones que tengan la misma rigidez que la unión o bien trabajar con una rigidez equivalente de la barra de modo que su rigidez sea la de la barra original más las uniones.
      En cualquier caso se podrán usar modelos más complejos basados en ensayos o en los principios generales
    3. uniones de apoyo y empalme de estructuras adinteladas:
      1. en el caso de uniones articuladas se considerará que en la unión no hay deslizamiento alguno;
      2. en el caso de uniones en las que se pretenda conseguir un empotramiento se considerará el rigidez eficaz de la unión en función del deslizamiento de las uniones. La mayoría de las uniones rígidas con clavijas son a lo sumo semiempotramientos, y en muchos casos llegan a comportarse casi como articulaciones.

5.3.2 Estructuras trianguladas

  1. En el análisis de estructuras trianguladas, líneas que representan las barras del sistema son aquellas que unen los centros de gravedad de las secciones. En caso de utilizar, como línea de referencia de la barra, una distinta a la anterior, se tendrá en cuenta en dicho análisis los efectos de la excentricidad respecto a dicha línea.
  2. Los empalmes realizados en las barras de piezas de celosía pueden ser considerados como rígidos si su rotación real, debida a las acciones, no tiene efectos significativos sobre las leyes de distribución de esfuerzos. Este requisito se cumple si se verifican las siguientes condiciones:
    1. el empalme tiene una capacidad de carga que corresponde, al menos, a 1,5 veces la hipótesis más desfavorable;
    2. el empalme tiene una capacidad portante que corresponde, al menos, a la combinación de fuerzas y momentos aplicados, siempre que las barras de madera no estén sometidas a tensiones de flexión superiores a 0,3 veces su resistencia de cálculo a flexión. Además, si se considera el empalme como una articulación, el conjunto debe ser estable.
Ejemplo de denominación de algunos elementos en el análisis de una celosía.
Figura 5.1 Ejemplo de denominación de algunos elementos en el análisis de una celosía.

5.3.3 Pórticos y arcos planos

  1. Cuando los esfuerzos generados como consecuencia del desplazamiento de la estructura no sean despreciables, debe relizarse un análisis de segundo orden como sucede con algunos pórticos traslacionales en los que los esfuerzos axiales de compresión no están muy alejados de las cargas críticas de pandeo. Los esfuerzos deben determinarse considerando, además, las posibles imperfecciones geométricas y estructurales, es decir, las desviaciones entre los ejes geométricos y el centro elástico de la sección transversal, debidas, por ejemplo, a la falta de homogeneidad del material, y las combaduras previas de las piezas. Éstas se estiman de la manera siguiente:
    1. pórticos planos; la forma imperfecta de la estructura puede considerarse como equivalente a una desviación inicial que es una aproximación a la deformada real, obtenida mediante la aplicación de ángulos de giro Φ en los soportes de la estructura junto con una combadura inicial de forma sinusoidal entre nudos de la estructura definida por la excentricidad máxima e.

      El valor mínimo de φ, en radianes, debe ser:

      ϕ=0,005\phi = 0,005 para h ≤ 5 m (5.6)

      ϕ=0,0055h\phi = 0,005 \sqrt{\frac{5}{h}} para h > 5m (5.7)

      siendo:

      h longitud del soporte, [m];

      el valor mínimo de e debe ser:

      e=0,0025le = 0,0025 \cdot l (5.8)

      siendo:

      l longitud de la viga, [m].

    2. Arcos; para tener en cuenta las desviaciones en el análisis lineal de segundo orden se tomarán las deformaciones iniciales siguientes (figura 5.2).

      El valor mínimo de e debe ser:

      e=0,0025l1e = 0,0025 \cdot l_1 para carga simétrica (5.9)

      e=0,0025l2e = 0,0025 \cdot l_2 para carga no simétrica (5.10)

      siendo:

      l1 y l2 longitud de la cuerda, desde el punto de apoyo al punto de intersección de la directriz del arco con su deformada en análisis de primer orden, para carga simétrica y no simétrica, respectivamente.

Ejemplo de desviaciones iniciales de la geometría de un pórtico a dos aguas y de un arco
Figura 5.2 Ejemplo de desviaciones iniciales de la geometría de un pórtico a dos aguas y de un arco

5.3.4 Análisis simplificado de celosías trianguladas con placas dentadas

  1. Para realizar el análisis simplificado de celosías trianguladas que se establece a continuación, deben cumplirse los requisitos siguientes:
    1. no existen ángulos entrantes en el contorno;
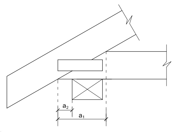
    2. el ancho del apoyo está situado dentro de la longitud a1, y la distancia a2, figura 5.3, no es superior a (a1 / 3) ni a 100 mm;
    3. la altura de la celosía es superior a 0,15 veces el vano total y 10 veces el canto del cordón mayor, véase figura 5.1;
Geometría del apoyo
Figura 5.3 Geometría del apoyo
  1. El análisis simplificado consiste en los esfuerzos en las barras de la siguiente forma:
    1. las fuerzas axiales en las barras se determinan bajo la hipótesis de que todos los nudos están articulados;
    2. los momentos de flexión de las barras de un solo vano se determinan bajo la hipótesis de que sus extremos articulados. Los momentos de flexión de aquellas barras de dos o más vanos, que mantienen su continuidad (por ejemplo cordones) se determinan considerando que la pieza (cordón) es una viga con un apoyo en cada nudo (viga continua). La influencia de los desplazamientos de los nudos y de la rigidez parcial de las conexiones puede considerarse reduciendo un 10 % los momentos en los apoyos interiores. Los momentos en los vanos se determinarán en función de los momentos resultantes en los nudos.

Documento Básico SE - Seguridad Estructural

Versión m-2019