ITC-BT-12 Instalaciones de enlace. Esquemas

1. Instalaciones de enlace

1.1 Definición

Se denominan instalaciones de enlace, aquellas que unen la caja general de protección o cajas generales de protección, incluidas éstas, con las instalaciones interiores o receptoras del usuario.

Comenzarán, por tanto, en el final de la acometida y terminarán en los dispositivos generales de mando y protección.

Estas instalaciones se situarán y discurrirán siempre por lugares de uso común y quedarán de propiedad del usuario, que se responsabilizará de su conservación y mantenimiento.

1.2 Partes que constituyen las instalaciones de enlace

  • Caja General de Protección (CGP)
  • Línea General de Alimentación (LGA)
  • Elementos para la Ubicación de Contadores (CC)
  • Derivación Individual (DI)
  • Caja para Interruptor de Control de Potencia (ICP)
  • Dispositivos Generales de Mando y Protección (DGMP)

2. ESQUEMAS

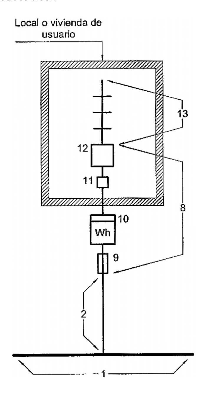
2.1 Para un solo usuario

En este caso se podrán simplificar las instalaciones de enlace al coincidir en el mismo lugar la Caja General de Protección y la situación del equipo de medida y no existir, por tanto, la Línea general de alimentación. En consecuencia, el fusible de seguridad (9) coincide con el fusible de la CGP.

Esquema para un solo usuario
Esquema 2.1. Para un solo usuario

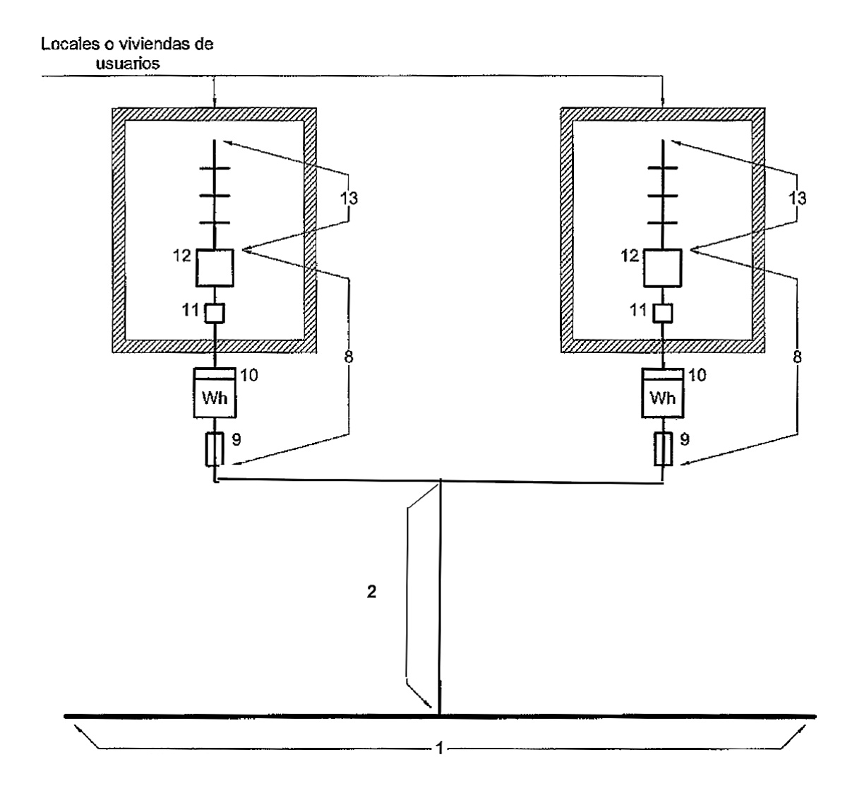
2.2 Para más de un usuario

Las instalaciones de enlace se ajustarán a los siguientes esquemas según la colocación de los contadores.

2.2.1 Colocación de contadores para dos usuarios alimentados desde el mismo lugar

El esquema 2.1 puede generalizarse para dos usuarios alimentados desde el mismo lugar. Por lo tanto es válido lo indicado para los fusibles de seguridad (9) en el apartado 2.1.

Esquema para dos usuarios alimentados desde el mismo lugar
Esquema 2.2.1. Para dos usuarios alimentados desde el mismo lugar
2.2.2 Colocación de contadores en forma centralizada en un lugar

Este esquema es el que se utilizará normalmente en conjuntos de edificación vertical u horizontal, destinados principalmente a viviendas, edificios comerciales, de oficinas o destinados a una concentración de industrias.

Esquema para varios usuarios con contadores en forma centralizada en un lugar
Esquema 2.2.2. Para varios usuarios con contadores en forma centralizada en un lugar

Leyenda

  1. Red de distribución.
  2. Acometida.
  3. Caja general de protección.
  4. Línea general de alimentación.
  5. Interruptor general de maniobra.
  6. Caja de derivación.
  7. Emplazamiento de contadores.
  8. Derivación individual.
  9. Fusible de seguridad.
  10. Contador.
  11. Caja para interruptor de control de potencia.
  12. Dispositivos generales de mando y protección.
  13. Instalación interior.

Reglamento electrotécnico para baja tensión e ITC

Versión 2025